Chapter 5.2
Marking and labelling of packages including IBCs
- Note:
- These provisions relate essentially to the marking and labelling of dangerous goods according to their properties. However, additional marks or symbols indicating precautions to be taken in handling or storing a package (such as a symbol representing an umbrella, indicating that a package shall be kept dry) may be displayed on a package if appropriate.
- 5.2.1
- Marking of packages including IBCs
- 5.2.1.1
-
Unless provided otherwise in this Code, the proper shipping name for the dangerous goods as determined in accordance with 3.1.2 and the corresponding UN number, preceded by the letters “UN”, shall be displayed on each package. The UN number and the letters “UN” shall be at least 12 mm high, except for packages of 30 litres capacity or less or of 30 kg maximum net mass or less and or cylinders of 60 litres water capacity or less when they shall be at least 6 mm in height and except for packages of 5 litres capacity or less or of 5 kg maximum net mass when they shall be of an appropriate size. In the case of unpackaged articles, the mark shall be displayed on the article, on its cradle or on its handling, storage or launching device. For goods of division 1.4, compatibility group S, the division and compatibility group letter shall also be marked unless the label for 1.4S is displayed. A typical package mark is:
CORROSIVE LIQUID, ACIDIC, ORGANIC, N.O.S. (caprylyl chloride) UN 3265.
Note: Cylinders of 60 L water capacity or less marked with a UN number in accordance with the provisions of the IMDG Code up to 31 December 2013 and which do not conform to the provisions of 5.2.1.1 regarding the size of the UN number and of the letters "UN" applicable as from 1 January 2014 may continue to be used until the next periodic inspection but no later than 1 July 2018.
- 5.2.1.2
-
All package marks required by 5.2.1.1:
shall be readily visible and legible;
shall be such that this information will still be identifiable on packages surviving at least three months' immersion in the sea. In considering suitable marking methods, account shall be taken of the durability of the packaging materials used and the surface of the package;
shall be displayed on a background of contrasting colour on the external surface of the package; and
shall not be located with other package marks that could substantially reduce their effectiveness.
- 5.2.1.3
- Salvage packagings including large salvage packagings and salvage pressure receptacles shall additionally be marked with the word "SALVAGE". The lettering of the "SALVAGE" mark shall be at least 12 mm high.
- 5.2.1.4
- Intermediate bulk containers of more than 450 L capacity and large packagings shall be marked on two opposing sides.
- 5.2.1.5
- Special marking provisions for radioactive material
- 5.2.1.5.1
- Each package shall be legibly and durably marked on the outside of the packaging with an identification of either the consignor or consignee, or both. Each overpack shall be legibly and durably marked on the outside of the overpack with an identification of either the consignor or consignee, or both unless these marks of all packages within the overpack are clearly visible
- 5.2.1.5.2
- The marking of excepted packages of radioactive material of class 7 shall be as required by 5.1.5.4.1.
- 5.2.1.5.3
- Each package of gross mass exceeding 50 kg shall have its permissible gross mass legibly and durably marked on the outside of the packaging.
- 5.2.1.5.4
-
Each package which conforms to:
a Type IP-1 package, a Type IP-2 package or a Type IP-3 package design shall be legibly and durably marked on the outside of the packaging with "TYPE IP-1", "TYPE IP-2" or "TYPE IP-3" as appropriate;
a Type A package design shall be legibly and durably marked on the outside of the packaging with "TYPE A";
a Type IP-2 package, a Type IP-3 package or a Type A package design shall be legibly and durably marked on the outside of the packaging with the international vehicle registration code (VRI code) of the country of origin of design and either the name of the manufacturer or other identification of the packaging specified by the competent authority of the country of origin of design.
- 5.2.1.5.5
-
Each package which conforms to a design approved under one or more of paragraphs 5.1.5.2.1, 6.4.22.1 to 6.4.22.4, 6.4.23.4 to 6.4.23.7 and 6.4.24.2 shall be legibly and durably marked on the outside of the package with the following information:
the identification mark allocated to that design by the competent authority;
a serial number to uniquely identify each packaging which conforms to that design;
"Type B(U)", "Type B(M)" or "Type C", in the case of a Type B(U), Type B(M) or Type C package design
- 5.2.1.5.6
-
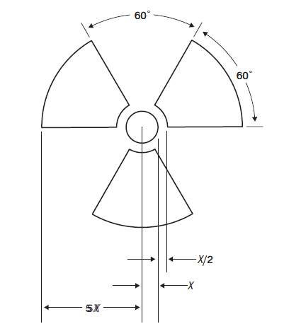
Each package which conforms to a Type B(U), Type B(M) or Type C package design shall have the outside of the outermost receptacle which is resistant to the effects of fire and water plainly marked by embossing, stamping or other means resistant to the effects of fire and water with the trefoil symbol shown below.
Basic trefoil symbol with proportions based on a central circle of radius X.
The minimum allowable size of X shall be 4 mm.Any mark on the package made in accordance with the requirements of 5.2.1.5.4.1 and .2 and 5.2.1.5.5.3 relating to the package type that does not relate to the UN number and proper shipping name assigned to the consignment shall be removed or covered.
- 5.2.1.5.7
- Where LSA-I or SCO-I material is contained in receptacles or wrapping materials and is transported under exclusive use as permitted by 4.1.9.2.4, the outer surface of these receptacles or wrapping materials may bear the mark "RADIOACTIVE LSA-I" or "RADIOACTIVE SCO-I", as appropriate.
- 5.2.1.5.8
- In all cases of international transport of packages requiring competent authority approval of design or shipment, for which different approval types apply in the different countries concerned by the shipment, marking shall be in accordance with the certificate of the country of origin of the design.
- 5.2.1.6
- Special marking provisions for marine pollutants
- 5.2.1.6.1
- Except as provided in 2.10.2.7, packages containing marine pollutants meeting the criteria of 2.9.3 shall be durably marked with the marine pollutant mark.
- 5.2.1.6.2
- The marine pollutant mark shall be located adjacent to the marks required by 5.2.1.1. The provisions of 5.2.1.2 and 5.2.1.4 shall be met.
- 5.2.1.6.3
-
The marine pollutant mark shall be as shown in the figure below.
Marine pollutant mark The mark shall be in the form of a square set at an angle of 45° (diamond-shaped). The symbol (fish and tree) shall be black on white or a suitable contrasting background. The minimum dimensions shall be 100 mm x 100 mm and the minimum width of line forming the diamond shall be 2 mm. If the size of the package so requires, the dimensions/line thickness may be reduced, provided the mark remains clearly visible. Where dimensions are not specified, all features shall be in approximate proportion to those shown.
Note: The labelling provisions of 5.2.2 apply in addition to any requirement for packages to bear the marine pollutant mark.
- 5.2.1.7
- Orientation arrows
- 5.2.1.7.1
-
Except as provided in 5.2.1.7.2:
combination packagings having inner packagings containing liquid dangerous goods;
single packagings fitted with vents;
closed or open cryogenic receptacles intended for the transport of refrigerated liquefied gases; and
- machinery or apparatus containing liquid dangerous goods when it is required to ensure the liquid dangerous goods remain in their intended orientation (see special provision 301 of chapter 3.3),
shall be legibly marked with package orientation arrows which are similar to the illustration shown below or with those meeting the specifications of ISO 780:1997. The orientation arrows shall appear on two opposite vertical sides of the package with the arrows pointing in the correct upright direction. They shall be rectangular and of a size that is clearly visible commensurate with the size of the package. Depicting a rectangular border around the arrows is optional.
Two black or red arrows on white or suitable contrasting background.
The rectangular border is optional
All features shall be in approximate proportion to those shown. - 5.2.1.7.2
-
Orientation arrows are not required on:
outer packagings containing pressure receptacles except closed or open cryogenic receptacles;
outer packagings containing dangerous goods in inner packagings each containing not more than 120 mL, with sufficient absorbent material between the inner and outer packagings to completely absorb the liquid contents;
outer packagings containing Division 6.2 infectious substances in primary receptacles each containing not more than 50 mL;
type IP-2, type IP-3, type A, type B(U), type B(M) or type C packages containing class 7 radioactive material;
outer packagings containing articles which are leak-tight in all orientations (e.g. alcohol or mercury in thermometers, aerosols, etc.); or
outer packagings containing dangerous goods in hermetically sealed inner packagings each containing not more than 500 mL.
- 5.2.1.7.3
- Arrows for purposes other than indicating proper package orientation shall not be displayed on a package marked in accordance with this sub-section.
- 5.2.1.8
- Excepted quantity mark
- 5.2.1.8.1
- Packages containing excepted quantities of dangerous goods shall be marked according to 3.5.4.
- 5.2.1.9
- **Limited quantity mark **
- 5.2.1.9.1
- Packages containing dangerous goods packed in limited quantities shall be marked according to 3.4.5.
- 5.2.1.10
- Lithium battery mark
- 5.2.1.10.1
- Packages containing lithium cells or batteries prepared in accordance with special provision 188 shall be marked as shown in Figure below.
- 5.2.1.10.2
-
The mark shall indicate the UN number, preceded by the letters “UN”, i.e. ‘UN 3090' for lithium metal cells or batteries or ‘UN 3480' for lithium ion cells or batteries. Where the lithium cells or batteries are contained in, or packed with, equipment, the UN number preceded by the letters “UN”, i.e. ‘UN 3091' or ‘UN 3481' as appropriate shall be indicated. Where a package contains lithium cells or batteries assigned to different UN numbers, all applicable UN numbers shall be indicated on one or more marks.
Lithium battery mark
* Place for UN number(s)The mark shall be in the form of a rectangle or a square with hatched edging. The dimensions shall be a minimum of 100 mm wide x 100 mm high and the minimum width of the hatching shall be 5 mm. The symbol (group of batteries, one damaged and emitting flame, above the UN number for lithium ion or lithium metal batteries or cells) shall be black on white or suitable contrasting background. The hatching shall be red. If the size of the package so requires, the dimensions may be reduced to not less than 100 mm wide x 70 mm high. Where dimensions are not specified, all features shall be in approximate proportion to those shown.
- 5.2.2
- Labelling of packages including IBCs
- 5.2.2.1
-
Labelling provisions
These provisions are related essentially to danger labels. However, additional marks or symbols indicating precautions to be taken in handling or storing a package (such as a symbol representing an umbrella, indicating that a package shall be kept dry) may be displayed on a package if appropriate.
- 5.2.2.1.1
- Labels identifying primary and subsidiary hazards shall conform to models Nos. 1 to 9 illustrated in 5.2.2.2.2. The "EXPLOSIVE" subsidiary hazard label is model No. 1.
- 5.2.2.1.2
- Where articles or substances are specifically listed in the Dangerous Goods List, a danger class label shall be affixed for the hazard shown in column 3. A subsidiary hazard label shall also be affixed for any hazard indicated by a class or division number in column 4 of the Dangerous Goods List. However, special provisions indicated in column 6 may also require a subsidiary hazard label where no subsidiary hazard is indicated in column 4 or may exempt from the requirement for a subsidiary hazard label where such a hazard is indicated in the Dangerous Goods List.
- 5.2.2.1.2.1
-
A package containing a dangerous substance which has a low degree of danger may be exempt from these labelling requirements. In this case, a special provision specifying that no hazard label is required appears in column 6 of the Dangerous Goods List for the relevant substance. However, for certain substances the package shall be marked with the appropriate text as it appears in the special provision, for example:
Substance Un No. Class Mark required on bales Baled hay in cargo transport unit UN 1327 4.1 None Baled hay not in cargo transport unit UN 1327 4.1 Class 4.1 Baled dry vegetable fibres in cargo transport unit UN 3360 4.1 None Substance Un No. Class Mark required on packages in addition to the Proper Shipping Name and UN number Fish meal* UN 1374 4.2 Class 4.2† * Only applicable to fish meal in packing group III.
† Exempt from class marking when loaded in a cargo transport unit containing only fish meal under UN 1374. - 5.2.2.1.3
- Except as provided in 5.2.2.1.3.1, if a substance which meets the definition of more than one class is not specifically listed by name in the Dangerous Goods List in chapter 3.2, the provisions in chapter 2.0 shall be used to determine the primary hazard class of the goods. In addition to the label required for that primary hazard class, subsidiary hazard labels shall also be applied as specified in the Dangerous Goods List.
- 5.2.2.1.3.1
- Packagings containing substances of class 8 need not bear subsidiary hazard label model No. 6.1 if the toxicity arises solely from the destructive effect on tissue. Substances of class 4.2 need not bear subsidiary hazard label model No. 4.1.
- 5.2.2.1.4
-
Labels for class 2 gases with subsidiary hazard(s)
Class Subsidiary hazard(s) shown in chapter 2.2 Primary hazard label Subsidiary hazard label(s) 2.1 None 2.1 None 2.2 None 2.2 None 5.1 2.2 5.1 2.3 None 2.3 None 2.1 2.3 2.1 5.1 2.3 5.1 5.1, 8 2.3 5.1, 8 8 2.3 8 2.1, 8 2.3 2.1, 8 - 5.2.2.1.5
- Three separate labels have been provided for class 2, one for flammable gases of class 2.1 (red), one for non-flammable, non-toxic gases of class 2.2 (green) and one for toxic gases of class 2.3 (white). Where the Dangerous Goods List indicates that a class 2 gas possesses single or multiple subsidiary hazards, labels shall be used in accordance with the table in 5.2.2.1.4.
- 5.2.2.1.6
-
Except as provided in 5.2.2.2.1.2, each label shall:
be located on the same surface of the package near the Proper Shipping Name mark, if the package dimensions are adequate;
be so placed on the packaging that it is not covered or obscured by any part or attachment to the packaging or any other label or mark; and
when primary and subsidiary hazard labels are required, be displayed next to each other.
Where a package is of such an irregular shape or small size that a label cannot be satisfactorily affixed, the label may be attached to the package by a securely affixed tag or other suitable means.
- 5.2.2.1.7
- Intermediate bulk containers of more than 450 L capacity and large packagings shall be labelled on two opposing sides.
- 5.2.2.1.8
- Labels shall be affixed on a surface of contrasting colour.
- 5.2.2.1.9
-
Special provisions for the labelling of self-reactive substances
An "EXPLOSIVE" subsidiary hazard label (No.1) shall be applied for type B self-reactive substances, unless the competent authority has permitted this label to be dispensed with for a specific packaging because test data have proved that the self-reactive substance in such a packaging does not exhibit explosive behaviour.
- 5.2.2.1.10
-
Special provisions for the labelling of organic peroxides
The class 5.2 label (model No. 5.2) shall be affixed to packages containing organic peroxides classified as types B, C, D, E or F. This label also implies that the product may be flammable and hence no "FLAMMABLE LIQUID" subsidiary hazard label (model No. 3) is required. In addition, the following subsidiary hazard labels shall be applied:
An "EXPLOSIVE" subsidiary hazard label (model No. 1) for organic peroxides type B, unless the competent authority has permitted this label to be dispensed with for a specific packaging because test data have proved that the organic peroxide in such a packaging does not exhibit explosive behaviour.
A "CORROSIVE" subsidiary hazard label (model No. 8) is required when packing group I or II criteria of class 8 are met.
- 5.2.2.1.11
-
Special provisions for the labelling of infectious substances packages
In addition to the primary hazard label (model No. 6.2), infectious substances packages shall bear any other label required by the nature of the contents.
- 5.2.2.1.12
- Special provisions for the labelling of radioactive material
- 5.2.2.1.12.1
- Except when enlarged labels are used in accordance with 5.3.1.1.5.1, each package, overpack and freight container containing radioactive material shall bear the labels conforming to the applicable model Nos. 7A, 7B or 7C, according to the appropriate category. Labels shall be affixed to two opposite sides on the outside of the package or overpack or on the outside of all four sides of a freight container or tank. In addition, each package, overpack and freight container containing fissile material, other than fissile material excepted under the provisions of 2.7.2.3.5, shall bear labels conforming to model No. 7E; such labels, where applicable shall be affixed adjacent to the labels conforming to the applicable model Nos. 7A, 7B or 7C. Labels shall not cover the marks specified in this chapter. Any labels which do not relate to the contents shall be removed or covered.
- 5.2.2.1.12.2
-
Each label conforming to the applicable model No. 7A, 7B or 7C shall be completed with the following information:
Contents:
Except for LSA-I material, the name(s) of the radionuclide(s) as taken from the table under 2.7.2.2.1, using the symbols prescribed therein. For mixtures of radionuclides, the most restrictive nuclides must be listed to the extent the space on the line permits. The group of LSA or SCO shall be shown following the name(s) of the radionuclide(s). The terms "LSA-II", "LSA-III", "SCO-I" and "SCO-II" shall be used for this purpose.
For LSA-I material, the term "LSA-I" is all that is necessary; the name of the radionuclide is not necessary.
Activity: The maximum activity of the radioactive contents during transport, expressed in units of becquerels (Bq) with the appropriate SI prefix symbol (see 1.2.2.1). For fissile material, the total mass of fissile nuclides in units of grams (g), or multiples thereof, may be used in place of activity.
For overpacks and freight containers, the "contents" and "activity" entries on the label shall bear the information required in 5.2.2.1.12.2.1 and 5.2.2.1.12.2.2, respectively, totalled together for the entire contents of the overpack or freight container except that, on labels for overpacks or freight containers containing mixed loads of packages containing different radionuclides, such entries may read "See transport documents".
Transport index: The number determined in accordance with 5.1.5.3.1 and 5.1.5.3.2. (except for category I-WHITE)
- 5.2.2.1.12.3
- Each label conforming to the model No. 7E shall be completed with the criticality safety index (CSI) as stated in the certificate of approval applicable in the countries through or into which the consignment is transported and issued by the competent authority or as specified in 6.4.11.2 or 6.4.11.3.
- 5.2.2.1.12.4
- For overpacks and freight containers, the label conforming to model No. 7E shall bear the sum of the criticality safety indexes of all the packages contained therein.
- 5.2.2.1.12.5
- In all cases of international transport of packages requiring competent authority approval of design or shipment, for which different approval types apply in the different countries concerned by the shipment, labelling shall be in accordance with the certificate of the country of origin of design.
- 5.2.2.1.13
-
Labels for articles containing dangerous goods transported as UN Nos. 3537, 3538, 3539, 3540, 3541, 3542, 3543, 3544, 3545, 3546, 3547 and 3548
- Packages containing articles or articles transported unpackaged shall bear labels according to 5.2.2.1.2 reflecting the hazards established according to 2.0.6. If the article contains one or more lithium batteries with, for lithium metal batteries, an aggregate lithium content of 2 g or less, and for lithium ion batteries, a Watt-hour rating of 100Wh or less, the lithium battery mark (5.2.1.10.2) shall be affixed to the package or unpackaged article. If the article contains one or more lithium batteries with, for lithium metal batteries, an aggregate lithium content of more than 2 g and for lithium ion batteries, a Watt-hour rating of more than 100Wh, the lithium battery label (5.2.2.2.2 No. 9A) shall be affixed to the package or unpackaged article.
- When it is required to ensure articles containing liquid dangerous goods remain in their intended orientation, orientation marks meeting 5.2.1.7.1 shall be affixed and visible on at least two opposite vertical sides of the package or of the unpackaged article where possible, with the arrows pointing in the correct upright direction.
- 5.2.2.2
- Provisions for labels
- 5.2.2.2.1
-
Labels shall satisfy the provisions of this section and conform, in terms of colour, symbols, numbers and general format, to the specimen labels shown in 5.2.2.2.2.
Note: Where appropriate, labels in 5.2.2.2.2 are shown with a dotted outer boundary as provided for in 5.2.2.2.1.1. This is not required when the label is applied on a background of contrasting colour.
- 5.2.2.2.1.1
-
Labels shall be configured as shown in the figure below:
Class/division label * The class or, for divisions 5.1 and 5.2, the division number shall be shown in the bottom corner
** Additional text/numbers/symbol/letters shall (if mandatory) or may (if optional) be shown in this bottom half
*** The class or division symbol or, for divisions 1.4, 1.5 and 1.6, the division number, and for Model No. 7E the word "FISSILE" shall be shown in this top half
- 5.2.2.2.1.1.1
- Labels shall be displayed on a background of contrasting colour, or shall have either a dotted or solid outer boundary line.
- 5.2.2.2.1.1.2
- The label shall be in the form of a square set at an angle of 45 degrees (diamond-shaped). The minimum dimensions shall be 100 mm x 100 mm. There shall be a line inside the edge forming the diamond which shall be parallel and approximately 5 mm from the outside of that line to the edge of the label. Where dimensions are not specified, all features shall be in approximate proportion to those shown.
- 5.2.2.2.1.1.3
- If the size of the package so requires the dimensions may be reduced proportionally, provided the symbols and other elements of the label remain clearly visible. Dimensions for cylinders shall comply with 5.2.2.2.1.2.
- 5.2.2.2.1.2
-
Cylinders for class 2 may, on account of their shape, orientation and securing mechanisms for transport, bear labels representative of those specified in this section, which have been reduced in size, according to ISO 7225:2005, Gas cylinders – Precautionary labels, for display on the non-cylindrical part (shoulder) of such cylinders. Labels may overlap to the extent provided for by ISO 7225:2005; however, in all cases, the labels representing the primary hazard and the numbers appearing on any label shall remain fully visible and the symbols recognizable.
Note: When the diameter of the cylinder is too small to permit the display of the reduced size labels on the non-cylindrical upper part of the cylinder, the reduced sized labels may be displayed on the cylindrical part.
- 5.2.2.2.1.3
- With the exception of labels for divisions 1.4, 1.5 and 1.6 of class 1, the upper half of the label shall contain the pictorial symbol and the lower half shall contain the class number 1, 2, 3, 4, 5.1, 5.2, 6, 7, 8 or 9 as appropriate. However, for label model No. 9A, the upper half of the label shall only contain the seven vertical stripes of the symbol and the lower half shall contain the group of batteries of the symbol and the class number. Except for label model No. 9A, the label may include such text as the UN number, or words describing the hazard class (e.g. “flammable”) in accordance with 5.2.2.2.1.5 provided that the text does not obscure or detract from the other required label elements.
- 5.2.2.2.1.4
- In addition, except for divisions 1.4, 1.5 and 1.6, labels for class 1 shall show in the lower half, above the class number, the division number and compatibility group letter for the substance or article. Labels for divisions 1.4, 1.5 and 1.6 shall show in the upper half the division number and in the lower half the class number and the compatibility group letter. For division 1.4, compatibility group S, no label is generally required. However, in cases where a label is considered necessary for such goods, it shall be based on model No. 1.4.
- 5.2.2.2.1.5
- On labels other than those for material of class 7, the insertion of any text (other than the class or division number) in the space below the symbol shall be confined to particulars indicating the nature of the hazard and precautions to be taken in handling. For label No. 9A, no text other than the class mark shall be included in the bottom part of the label.
- 5.2.2.2.1.6
-
The symbols, text and numbers shall be shown in black on all labels except for:
the class 8 label, where the text (if any) and class number shall appear in white;
labels with entirely green, red or blue backgrounds, where they may be shown in white;
the class 5.2 label, where the symbol may be shown in white; and
class 2.1 labels displayed on cylinders and gas cartridges for liquefied petroleum gases, where they may be shown in the background colour of the receptacle if adequate contrast is provided.
- 5.2.2.2.1.7
- The method of affixing the label(s) or applying stencil(s) of label(s) on packages containing dangerous goods shall be such that the label(s) or stencil(s) will still be identifiable on packages surviving at least three months' immersion in the sea. In considering suitable labelling methods, account shall be taken of the durability of the packaging materials used and the surface of the package.
- 5.2.2.2.2
-
Specimen labels
Note: Labels shall satisfy the provisions below and conform, in terms of colour, symbols and general format, to the models shown in 5.2.2.2.2. Corresponding models required for other modes of transport, with minor variations which do not affect the obvious meaning of the label, are also acceptable.
Class 1 - Explosive substances or articles
Label model No. Class, Division or category Symbol and symbol colour Background Figure in bottom corner (and figure colour) Specimen labels Note Class 1: Explosive substances or articles 1 Divisions 1.1, 1.2 and 1.3 Exploding bomb: black Orange 1 (black) 
** Place for division – to be left blank if explosive is the subsidiary hazard
* Place for compatibility group – to be left blank if explosive is the subsidiary hazard1.4 Divisions 1.4 1.4: black Numerals shall be about 30 mm in height and be about 5 mm thick (for a label measuring 100 mm × 100 mm) Orange 1 (black) 
* Place for compatibility group 1.5 Divisions 1.5 1.5: black Numerals shall be about 30 mm in height and be about 5 mm thick (for a label measuring 100 mm × 100 mm) Orange 1 (black) 
* Place for compatibility group 1.6 Divisions 1.6 1.6: black Numerals shall be about 30 mm in height and be about 5 mm thick (for a label measuring 100 mm × 100 mm) Orange 1 (black) 
* Place for compatibility group Class 2 - Gases 2.1 Class 2.1: Flammable gases Flame: black and white (except as provided for in 5.2.2.2.1.6.4) Red 2 (black or white) (except as provided for in 5.2.2.2.1.6.4) 

2.2 Class 2.2: Non-flammable, non- toxic gases Gas cylinder: black or white Green 2 (black or white) 

2.3 Class 2.3: Toxic gases Skull and crossbones: black White 2 (black) 
Class 3 - Flammable liquids 3 Flame: black or white Red 3 (black or white) 

Class 4: Flammable solids; substances liable to spontaneous combustion; substances which, in contact with water, emit flammable gases 4.1 Class 4.1: Flammable solids, self-reactive substances, polymerizing substances and solid desensitized explosives Flame: black White with 7 vertical red stripes 4 (black) 
4.2 Class 4.2: Substances liable to spontaneous combustion Flame: black Upper half white, lower half red 4 (black) 
4.3 Class 4.3: Substances which, in contact with water emit flammable gases Flame: black or white Blue 4 (black or white) 

Class 5: Oxidizing substances and organic peroxides 5.1 Class 5.1: Oxidizing substances Flame or circle: black Yellow 5.1 (black) 
5.2 Class 5.2: Organic peroxides Flame: black or white Upper half red, lower half yellow 5.2 (black) 

Class 6: Toxic substances and infectious substances 6.1 Class 6.1: Toxic substances Skull and crossbones: black White 6 (black) 
6.2 Class 6.2: Infectious substances Three crescents superimposed on a circle: black White 6 (black) 
The lower half of the label may bear the inscriptions: "INFECTIOUS SUBSTANCE" and "In the case of damage or leakage immediately notify Public Health Authority" in black colour Class 7: Radioactive material 7A Category I– WHITE Trefoil: black White 7 (black) 
Text (mandatory), black in lower half of label: "RADIOACTIVE" "CONTENTS ..." "ACTIVITY ..." One red vertical bar shall follow the word: "RADIOACTIVE" 7B Category II– YELLOW Trefoil: black Upper half yellow with white border, lower half white 7 (black) 
Text (mandatory), black in lower half of label: "RADIOACTIVE" "CONTENTS ..." "ACTIVITY ..." In a black outlined box: "TRANSPORT INDEX"; Two red vertical bars shall follow the word: "RADIOACTIVE" 7C Category III– YELLOW Trefoil: black Upper half yellow with white border, lower half white 7 (black) 
Text (mandatory), black in lower half of label: "RADIOACTIVE" "CONTENTS ..." "ACTIVITY ..." In a black outlined box: "TRANSPORT INDEX". Three red vertical bars shall follow the word: "RADIOACTIVE" 7E Fissile material White 7 (black) 
Text (mandatory): black in upper half of label: "FISSILE"; In a black outlined box in the lower half of label: "CRITICALITY SAFETY INDEX" Class 8: Corrosive substances 8 Liquids, spilling from two glass vessels and attacking a hand and a metal: black Upper half white, lower half black with white border 8 (white) 
Class 9: Miscellaneous dangerous substances and articles, including environmentally hazardous substances 9 7 vertical stripes in upper half: black White 9 underlined (black) 
9A 7 vertical stripes in upper half: black; battery group, one broken and emitting a flame in lower half: black White 9 underlined (black) 